| RATING | UPTO 30 Amp., UPTO 550V AC UPTO 10 Amp., UPTO 230V DC |
| CONSTRUCTION | IN AL. ALLOY LM6 |
| DEG. OF PROT | IP:66 AS PER IS/IEC 60529 -2001 |
| GAS GROUP | IIC AS PER IS/IEC 60079-7:2015 INCREASED SAFETY Ex'e' |
| ZONE | ZONE 2 ONLY |
| TEMP. CLASS | T6 |
| CIMFR CERT. NO. | IN/CIMFR/TR21/3821 DTD. 22/01/2021 |
| PESO CERT NO | A/P/HO/MH/104/6737 (P505044) DTD. 29/04/2021 |
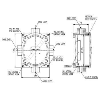
| EARTHING | 1NO. INTERNAL & 2NOS. EXTERNALS |
| PAINT | EPOXY POWDER COATED LIGHT GREY SHADE 631 OF IS:5 |
| TERMINAL | TO BE SPECIFY. ELMEX/CONNECTWELL MAKE. |
| CABLE ENTRY | TO BE SPECIFY, WITHOUT CABLE GLANDS & WITHOUT PLUG. |
| HARDWARE | S.S-304 (ONLY NUTS & BOLTS.) |